SICLIMAT X
Dieser Abschnitt enthält Hintergrundinformationen zur Integration und Konfiguration von Desigo CC mit SICLIMAT X. Zugehörige Verfahren finden Sie in den ausführlichen Anleitungen zu Integration, Bibliotheken und Migration beschrieben.
Die Managementplattform unterstützt mit SICLIMAT konfigurierte Simatic S7 SPS. SICLIMAT X ist ein Gebäudeautomationssystem, das die Managementstation und das integrierte Tool Engineering Manager umfasst.
Einführung zu SICLIMAT X
Kompatibilität
Kompatibilitätsliste (Version 2.1) | |||
Thema | Beschreibung | Version | Unterstützt |
SICLIMAT X-OS | Managementstation | 4.1 | Ja |
>4.1 | Nein | ||
SICLIMAT X Konfigurationsmanager | Konfigurationstool | 4.1 | Ja |
>4.1 | Nein | ||
Simatic S7-300/400 | Programmierbarer Logik-Controller (SPS), Kommunikationslink über Ethernet-CP oder PNIO-Schnittstelle | Alle | Ja |
S5-Link | SICLIMAT-Gateway zur Verbindung von S5-, Compas- oder LS300-Prozesscontroller | alle | Nein |
S7 Industrielles Ethernet | Siemens S7-Kommunikationsprotokoll (ISO-on_TCP); Kommunikationslink über Netzwerkadapter oder Ethernet-CP | n/a | Ja |
PROFINET | Process Field Network-Protokoll; Kommunikationslink über Netzwerkadapter oder Ethernet-CP | Alle | Nein |
PROFIBUS DP | Process Field Bus für Decentralized Peripherals-Protokoll; Kommunikationslink über PROFIBUS CP | Alle | Nein |
Unterstützte SICLIMAT X-Funktionsblöcke
Das klassische S7-Datenmodell stellt im Grunde die Datenstrukturen der verschiedenen primitiven Datentypen dar (Real, Integer, Boole usw.), die in SICLIMAT X zu zusammengefassten Funktionsblöcken aggregiert sind. Diese Funktionsblöcke sind für Gebäudeautomations- und Raumapplikationen optimiert. Eine Messgruppe ist beispielsweise aus Elementen zusammengesetzt, die den aktuellen Wert, Warn- und Alarmgrenzen, Ausser-Betrieb-Zustand usw. angeben.
Unterstützte Funktionsblöcke
- Anlagensteuerungsbefehle; 1-stufig, 3-stufig; 15-stufig
- RX Raumapplikationen; CLC, FNC, VAV, RAD
- Messwerte
- Befehlswerte: Befehle; 1-stufig, 3-stufig; 15-stufig
- Stellbefehle
- Meldungen
- Regler; Master-Heizung, Kaskaden-, Totzonen-
- Optimierer; Heizzeit-, Klimaanlagen-
- Zählwerte
- Sollwerte
Nicht unterstützte Funktionsblöcke
(Aufgrund fehlender Reskalierungsfunktion noch nicht unterstützt.)
- Sollwert ZAEH
Unterstützte SICLIMAT X-Grafiksymbole
Die von Headquarter bereitgestellte SICLIMAT X-Grafiksymbol-Bibliothek (zuvor Typicals genannt) wird vollständig unterstützt. Das System stellt 2D-Bibliotheken für Folgendes bereit:
- Luftbehandlung
- Kühlen
- Elektro
- Heizen
- Gerät
- HLK allgemein
- Raum
- Service
- Wasser
Zusätzlich sind einige neue Grafikvorlagen für Folgendes integriert:
- Heizkurve
- Kennlinien
- Regler
- Sommer-/Winter Kompensation
- Raumapplikationen
Lizenzen
Zusätzlich zum einfachen Satz Lizenzfunktionen und allen weiteren erforderlichen Lizenzfunktionen (wie Clients und Optionen) müssen ausreichende S7-Geräteverbindungs- und Datenpunktlizenzen aktiviert werden, um das System auszuführen.
S7-Geräteverbindungslizenzen
Jedes angeschlossene Simatic S7 benötigt eine S7-Geräteverbindungslizenz (sbt_gms_add_S7_connections). Bei der Installation der Simatic S7-Erweiterung werden acht S7-Geräteverbindungslizenzen für die Nutzung im gesamten System freigegeben. Um mehr als acht S7-Geräte an die Managementplattform anzuschliessen, sind zusätzliche Lizenzpakete (56 S7-Geräteverbindungen) je Server oder FEP erforderlich.
Datenpunktlizenzen
Migrierte SICLIMAT-Datenpunkte benötigen Gebäudeautomationsdatenpunkte (sbt_gms_add_ba_dp). Physikalische I/O-Datenpunkte zählen jeweils einen Lizenzpunkt, während Raumapplikationen drei Punkte zählen.
Anzahl lizenzierter Datenpunkte | ||
Thema | Datenpunkttyp | Gewicht |
Primär |
| Ein Punkt |
Raum | Desigo RX Raumapplikationen | Drei Punkte |
Arbeitsbereich SICLIMAT X
Der Arbeitsbereich enthält Informationen über die Benutzeroberflächenelemente zum Erstellen von Treibern, Netzwerken, Geräteverbindungen usw.
Arbeitsbereich für S7 Treiber
Die Details des S7 Treibers werden im Register Konfigurator angezeigt.

S7-Symbolleiste | ||
Icon | Bezeichnung | Beschreibung |
| Objekt löschen | Löscht den gewählten S7-Treiber. Sie dürfen den Treiber nicht löschen, wenn dieser ein Netzwerk überwacht. |
Arbeitsbereich für S7 Netzwerk
Mit dem Arbeitsbereich S7-Netzwerk können Sie die Netzwerkeinstellungen konfigurieren, z.B. den S7-Treiber mit dem Netzwerk verknüpfen, die Zuordnung speichern und das Netzwerk löschen. Die mit dem ausgewählten Netzwerk verbundenen Eigenschaften werden in den Registern Bedienung oder Erweiterte Bedienung angezeigt. Sie können auch den Wert des Abfrageintervalls ändern. Dieser Wert ist standardmässig auf 0 ms gesetzt. Um das Netzwerk zu löschen, klicken Sie das Symbol Löschen
, das in der Symbolleiste des Registers Konfigurator angezeigt wird.
Sie können den Treiber mit dem Netzwerk verknüpfen, indem Sie diesen in der Dropdown-Liste Gewählter Treiber auswählen.

Arbeitsbereich Siclimat X Importer
Im Siclimat X können Sie den Import von Felddaten (Konfigurationsobjekten) verwalten, die in der XML-Datei beschrieben sind. Sie können die in den Konfigurationsdateien (XML-Datei) beschriebenen Felddaten (Konfigurationsobjekte) aus dem Arbeitsbereich des Siclimat X-Geräteimporters importieren.

Importfelder | |
Element | Beschreibung |
Durchsuchen | Zeigt das Dialogfeld Öffnen an, wo eine Datei für den Import ausgewählt wird. Der Pfad der betreffenden Datei wird im Feld angezeigt. |
Quelle | Zeigt eine Vorschau aller in der gewählten XML-Datei verfügbaren Objekte an. Diese Objekte sind durch folgende Daten identifiziert:
|
Importierte Objekte | Zeigt eine Vorschau aller für den Import gewählten Objekte an. Diese Objekte sind durch folgende Daten identifiziert:
Hinweis: |
Suche | Ermöglicht Ihnen, einen Suchfilter auf den Inhalt der Listen Quellobjekte oder Importierte Objekte anzuwenden. |
Nicht selektierte Objekte löschen | Geben Sie an, ob während des Imports alle Objekte, die zwar in den Ansichten verfügbar, aber nicht in der Importdatei enthalten sind, gelöscht werden sollen. Wenn gesetzt, werden alle für die Objekte relevanten Elemente ebenfalls gelöscht (inkl. Textgruppen). |
Import | Startet den Importvorgang. Hinweis: |
Cancel | Bricht den Importvorgang ab. Hinweis: |
Analyse-Log | Zeigt das Dialogfeld Prä-Import-Logdatei mit den Fehlern an, die während der Vorverarbeitungsphase der CSV-Datei aufgetreten sind. Hinweis: |
Import-Log | Zeigt das Dialogfeld Dateilog importieren mit den Details des Importvorgangs an. Hinweis: |
Expander Geräteinfo
Dieser Expander zeigt die Einstellungen für die S7-Gerätedaten. Sie können die Geräteinstanz (numerische ID des S7-Geräts) und den Gerätenamen anzeigen und die anderen Parameter bearbeiten.

Element | Beschreibung |
Geräteinstanz | Instanz des S7-Geräts. |
Gerätename | Name des importierten S7-Geräts. |
S7-Typ | Typ des S7-CPU. |
Gerätebeschreibung | Beschreibung des S7-Geräts |
Verbindungstyp | Verbindungstyp des S7-Geräts. |
S7-Zugriffspunkt | Name des Zugriffspunkts für das S7-Gerät. Der Wert muss immer S7ONLINE lauten. |
IP-Adresse | IP-Adresse der SPS, über die eine Verbindung zur SPS hergestellt wird. |
Rack | Nummer des Racks, in dem sich die S7-CPU befindet. |
Slot | Nummer des Steckplatzes, in dem sich die relevante S7-CPU befindet. |
Expander Zeitsynchronisationsinfo
Öffnen Sie den Expander Zeitsynchronisationsinfo, und geben Sie folgende Parameter an:

Element | Beschreibung |
Zeitsynchronisationsmodus | Der Zeitsynchronisationsmodus bestimmt, ob und wie auf die aktuelle Uhrzeit an der SPS zugegriffen wird und/oder ob diese geändert wird. Folgende Werte sind möglich: |
Zeitsynchr.-Intervall | Bestimmt, wie oft die aktuelle Uhrzeit an der SPS gelesen bzw. dort überschrieben wird. |
SICLIMAT X-Migrationsprozess
Der Migrationsprozess ermöglicht einen Schritt-für-Schritt-Transfer der SICLIMAT X-OS-Umgebung in das System.
Sie können die Anzahl der gleichzeitig zu migrierenden Simatic-S7-Geräte eines oder mehrerer X-OS-Systeme frei wählen. Während des Migrationsprozesses können entsprechende Tools zum Beispiel den Transfer von Datenpunktinformationen und -strukturen sowie von Zeitplänen, Grafiken und Scripts unterstützen.
Die maximale Grösse des zu migrierenden Systems hängt von der Anzahl zu migrierender Datenpunkte, der installierten Automationsebenen-Basis, der Systemtopologie und der genutzten Hardware ab.
Nur Systeme mit Simatic S7 können direkt migriert werden. Simatic S5 SPS müssen zu einer Simatic S7 migriert werden. Es ist sinnvoller, SICLIMAT X-OS in einem Zug zum Systemserver zu migrieren, da dies zusätzliche Wartungsaufwendungen minimiert. Wenn dies nicht möglich ist, können FEPs auch das X-OS ersetzen.
Die Grösse des Komponentensystems kann ausgehend von der Gesamtzahl konfigurierter Datenpunkte und Prozessgeräte in den SICLIMAT X-OS-Managementstationen berechnet werden. Die notwendigen Informationen sind in den System-Info-Dateien (SIX-Info) zu finden. Folgende Werte sind für die Berechnung der Summe wichtig:
- Anzahl konfigurierter S7-Prozessgeräte
- Anzahl konfigurierter Datenpunkte für:
- Meldungen
- Messwerte
- Zählwerte
- Schaltbefehle
- Stellbefehle
- Anlagen
Systemtopologien
Einzelner Server

Typische Anwendungsfälle
- Normalerweise 1-2 SICLIMAT X-OS-Systeme
- Bis zu 64 S7-Geräteverbindungen
- Optimierung des Hardware-Materials
- Optimierung des Wartungsaufwands
Einzelner Server und mehrere FEPs

Typische Anwendungsfälle
- Mehrere SICLIMAT X-OS-Systeme
- Mehr als 64 S7-Geräteverbindungen
- Feste IT-Infrastruktur
Software-Optionen
In der folgenden Tabelle sind die lizenzierten Funktionen des älteren SICLIMAT X-OS-Systems beschrieben und die entsprechenden Managementsystem-Lizenzen aufgeführt.
Vergleichbarkeit Lizenzierte Software-Optionen (Version 2.1) | ||
Software-Option | SICLIMAT X-OS | Managementplattform |
Server | 1..n X-OS Grund-Software SIX-Info: Grund-Software | 1 Server-Grundfunktionssatz Lizenz: sbt_gms_fset_base |
Clients | Varianten:
SIX-Info: Bedienplatz | Varianten:
Die geeignetste Variante muss je nach Fall ausgearbeitet werden. Lizenz: sbt_gms_add_client |
S7-Verbindungen | S7-Basiskonnektivität für X-OS SIX-Info: S7-Anbindung | S7-Basiskonnektivität mit bis zu acht S7-Verbindungen möglich bei Installation des Simatic S7-Erweiterung |
SPS-Verbindungen | SPS-Konnektivität SIX-Info: S7-Anbindung | 56 zusätzliche S7-Verbindungen für Server oder FEP Lizenz: sbt_gms_add_S7_connections |
Datenpunkte | Pakete von 1.000 lizenzierten Datenpunkten (alle Funktionsblöcke) SIX-Info: Anzahl Datenpunkte [1000*] | Mehrere Pakete lizenzierter Gebäudeautomations-Datenpunkte (physikalische I/O) Lizenz: sbt_gms_add_ba_dp |
SPS-Programmierung | Konfigurationstool SIX-Info: AS-Projektierung | Nicht anwendbar. |
Grafikeditor | Grafikeditor-Applikation SIX-Info: Anlagenbildeditor | Grafikeditor-Applikation Lizenz: sbt_gms_opt_graph_ed |
Programmlogik | TECLA Script Editor-Applikation SIX-Info: Schaltprogrammeditor | Makro- und Reaktionsapplikationen Skripting noch nicht verfügbar Lizenz: sbt_gms_opt_reactionProc |
Trendarchivierung | Mehrere Pakete lizenzierter Trendserien-Archive SIX-Info: Trend; Anzahl Trendarchive; Zählwertarchivierung | Trendserien werden per Standardfunktion in einer Microsoft SQL-Datenbank gespeichert Archivierung noch nicht verfügbar |
Benachrichtigung | Alarmweiterleitung als interne E-Mail SIX-Info: E-Mail | Meldungsapplikation (E-Mail, SMS und Paging-Dienste) Lizenz: sbt_gms_opt_notification |
Andere Applikationen | EMAX -Applikation Excel-basiertes Rechentool Balken-, Kuchen- und Trenddiagrammtool Infobroker für Client-Lizenznutzung | Nicht anwendbar. Alternative Lösungen müssen je nach Fall ausgearbeitet werden. |
S5-Link | Southbound-Gateway für ältere Subsysteme SIX-Info: BS760-Anbindung; GMA-Kopplung; RX-Anbindung; TEC-Anbindung | Nicht anwendbar. Alternative Lösungen müssen je nach Fall ausgearbeitet werden. |
OPC Client | OPC-DA-Client mit Paketen von 1.000 lizenzierten Objekten SIX-Info: OPC-Client(#Items PccId) | OPC-DA-Client mit mehreren Paketen lizenzierter SCADA-Tags Lizenz: sbt_gms_add_scada_tag |
Datenschnittstelle | Northbound-Schnittstelle zum Lesen/Schreiben von Werten, häufig mit OPC-DA-Server eines Drittanbieters verwendet SIX-Info: SQL-Online-Interface; Standardschnittstelle | OPC DA-Server Lizenz: sbt_gms_opt_opc_server |
Ereignis-Schnittstelle | Northbound-Schnittstelle zum Export von Alarmdaten in eine Datei. SIX-Info: Ereignis-Schnittstelle | Als alternative Lösung können entweder die Berichts- und Reaktions-Applikation oder die Ereignis-Webdienste verwendet werden. |
Trenddaten-Schnittstelle | Northbound-Schnittstelle zum Export von Live-Daten in eine Datei. SIX-Info: Prozessdatensammler | Als alternative Lösung können mit den Webdiensten für historische Daten Daten in den Advantage Navigator (EMC) exportiert werden. |
Sonstige Lösungen | Kundenspezifische Lösungen SIX-Info: Anschluss FunkServer SIX-Info: Betreiber-Störmeldesystem SIX-Info: ELA-TV Steuerung SIX-Info: Sprachspeicher Steuerung | Nicht anwendbar. Alternative Lösungen müssen je nach Fall ausgearbeitet werden. |
Migrationstools
SICLIMAT Konvertierungstool für Konfigurationsdaten
Das Migrations-Servicepack SP501 bietet ein Tool zur Konvertierung von älteren Siclimat-Konfigurationen von Referenzen auf Datenpunkte, Hierarchien, Alarme, Scripts und grafische Symbole (Typicals) in die neue Managementplattform. Angepasste SICLIMAT-Alarmklassen können auf die Alarmkategorien der neuen Managementstation abgebildet werden.
SICLIMAT Konvertierungstool für Zeitpläne
Das Migrations-Servicepack SP501 bietet ein Tool zur Konvertierung von Siclimat-Zeitplänen aus dem älteren System (wie tägliche, wochentägliche, wöchentliche, Ausnahme- und einmalige Zeitpläne) in die Zeitpläne- und Kalenderapplikation des neuen Managementsystems.
SICLIMAT Zeitplanapplikation
Das System bietet eine spezifische Applikation für die Unterstützung von SICLIMAT X-Zeitplanobjekten (wie SICLIMAT AS und SICLIMAT OS). Die neue Managementstation kann auch Zeitplanprogrammdaten in Simatic S7 laden und verarbeiten.
Konfigurationstool
SICLIMAT X-OS ist das Konfigurationstool, mit dem SICLIMAT-Programmänderungen ausgeführt werden. Hierfür müssen weitere SPS-Anbindungs- und Laufzeitlizenzen erworben werden.
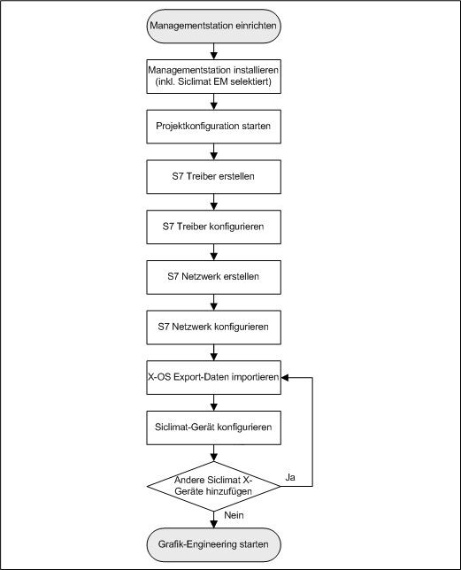
SICLIMAT X Integrations-Workflow
Der Integrations-Workflow für SICLIMAT X umfasst folgende Schritte:

Erste Schritte

Erweiterter Workflow

SICLIMAT X –Migration in das System
Nur SICLIMAT X OS 4.1 oder höher, verbunden mit einer S7 SPS, kann migriert werden.
Die Migration muss offline ausgeführt werden, da sonst möglicherweise Daten beschädigt werden.
Die Konvertierung von projektspezifischen Grafiksymbolen (Typicals) muss vom Techniker ausgeführt werden.
Wie werden SICLIMAT X-Grafiken in Desigo CC-Grafiken konvertiert?
Dies ist eine SICLIMAT X-Grafik vor der Migration nach Desigo CC:

Dies ist dieselbe Grafik nach der Migration nach Desigo CC:

SICLIMAT X-Grafiken sind in mehrere Layer aufgeteilt, die alle statischen Elemente wie Linien, Texte und Rechtecke enthalten. Sie können wählen, ob ein Element zum Vorder- oder Hintergrund gehört.
SICLIMAT X-Datenpunkte werden zu positionierten Symbolen mit dynamischer Information (technische oder Benutzerbezeichnung).
SICLIMAT X-Schaltflächen des Typs Widget werden in der Grafik in Text umgewandelt. Sie müssen den Widget-Befehl mit den Konzepten und Funktionen von Desigo CC nachträglich konfigurieren.
SICLIMAT X-Schaltflächen des Typs Steuerung werden in positionierte Verknüpfungsschaltflächen der Grafik konvertiert.
SICLIMAT X-APIC-Attribute werden im Kontextbereich angezeigt.
Einfache SICLIMAT X-Formen (Linie, Linien, Kreis, Ellipse, Bogen, Rechteck, B-Spline, Spoly, Polygon) werden durch Desigo CC-Formen ersetzt. Die Abbildung links zeigt beispielsweise ein Polygon in SICLIMAT X und die Abbildung rechts das migrierte Polygon in Desigo CC:

Desigo CC zeigt Symbole als Gruppen von einfachen Formen. Ein migriertes Ventilatorsymbol sieht beispielsweise wie zwei Linien und ein Kreis ohne grafische Animation aus. Desigo CC prüft, ob Elemente eine dynamische Referenz enthalten. Wenn nahe liegende Elemente dasselbe Symbol darstellen, wird nur ein Symbol auf der Startposition des Elements platziert. Die beiden Linien und der Kreis beispielsweise, die in SICLIMAT X einen Ventilator darstellen (1), werden in Desigo CC durch ein Ventilatorsymbol ersetzt (2):

Standardgrafiken
Standardgrafiken von SICLIMAT X werden automatisch auf Desigo CC-Grafiken abgebildet. MW_AT_AF ist zum Beispiel eine Standardgrafik.

Die Standardgrafik MW_AT_AF wird auf eine Desigo CC-Funktion abgebildet.


Die Funktion wird auf ein Desigo CC-Symbol abgebildet.

Benutzerdefinierte Grafiken
Benutzerdefinierte Grafiken von SICLIMAT X werden nicht automatisch auf Desigo CC-Grafiken abgebildet. Sie müssen die benutzerdefinierten Grafiken auf Desigo CC-Grafiken abbilden, bevor Sie die SICLIMAT X-Grafiken nach Desigo CC migrieren.
SICLIMAT X-Migrationsworkflow
Voraussetzungen
- Desigo CC ist auf einem neuen Computer installiert.
- SICLIMAT X OS 4.1 ist mit allen relevanten Servicepacks installiert.
Migrationsworkflow

SICLIMAT X-Bibliothek
Die SICLIMAT X-Bibliothek wird mit der Erweiterung installiert und ist unter folgendem Pfad:
Systemeinstellungen > Bibliotheken > L1-Headquarter > GA > Gerät > SICLIMAT X > Importregeln.
Sie enthält den Standardsatz Datentypdefinitionen inklusive Objektmodellen, Importregeln und Textgruppen, die von der aktuellen Version der Managementplattform unterstützt werden.
Objektmodelle
Die SICLIMAT X-Objektmodelle werden in den Ordner Objektmodelle der Bibliothek SICLIMAT X importiert.
Zu den SICLIMAT X-Objektmodellen gehören die SICLIMAT X-Datenpunkttypen (DPT), die in der zu importierenden XML-Konfigurationsdatei von SICLIMAT X verwendet werden können.
Das SICLIMAT X-Datenmodell für die derzeitige Version umfasst alle benötigten Datentypen (Netzwerk, Treiber und Geräteinstanzen) sowie alle grundlegenden Datenpunkttypen (SICLIMAT X-Elemente).

Objektmodelle und Eigenschaften | ||||
ObjectModelName | Name der ursprünglichen Eigenschaft | Name der Schatteneigenschaft | EigenschaftBeschreibung | Eingangsformat |
GMS_Siclimat_OPT_SCHALT_1 | Zeitpunkt_HHMM | Zeitpunkt_HHMM_Shadow | Point Of Time HHMM | HH:MM |
GMS_Siclimat_OPT_SCHALT_1 | Zeitpunkt_Tag | Zeitpunkt_Tag_Shadow | Point Of Time HHMM | Decimal |
GMS_Siclimat_OPT_SCHALT_1 | Zeitpunkt_Monat | Zeitpunkt_Monat_Shadow | Point Of Time HHMM | Decimal |
GMS_Siclimat_OPT_STELL_1 | Zeitpunkt_HHMM | Zeitpunkt_HHMM_Shadow | Point Of Time HHMM | HH:MM |
GMS_Siclimat_OPT_STELL_1 | Zeitpunkt_Tag | Zeitpunkt_Tag_Shadow | Point Of Time HHMM | Decimal |
GMS_Siclimat_OPT_STELL_1 | Zeitpunkt_Monat | Zeitpunkt_Monat_Shadow | Point Of Time HHMM | Decimal |
GMS_Siclimat_HZO_1 | TA1_Aufheizzeit1 | TA1_Aufheizzeit1_Shadow | TOa1 Heating-up Time 1 | HH:MM |
GMS_Siclimat_HZO_1 | TA1_Aufheizzeit2 | TA1_Aufheizzeit2_Shadow | TOa1 Heating-up Time 2 | HH:MM |
GMS_Siclimat_HZO_1 | TA2_Aufheizzeit1 | TA2_Aufheizzeit1_Shadow | TOa2 Heating-up Time 1 | HH:MM |
GMS_Siclimat_HZO_1 | TA2_Aufheizzeit2 | TA2_Aufheizzeit2_Shadow | TOa2 Heating-up Time 2 | HH:MM |
GMS_Siclimat_HZO_1 | TA3_Aufheizzeit1 | TA3_Aufheizzeit1_Shadow | TOa3 Heating-up Time 1 | HH:MM |
GMS_Siclimat_HZO_1 | TA3_Aufheizzeit2 | TA3_Aufheizzeit2_Shadow | TOa3 Heating-up Time 2 | HH:MM |
GMS_Siclimat_HZO_1 | Schutzzeit_Aufheizen | Schutzzeit_Aufheizen_Shadow | Heating-up Protection time | HH:MM |
GMS_Siclimat_HZO_1 | Naechst_Schaltp_HHMM | Naechst_Schaltp_HHMM_Shadow | Next Switching Point HHMM | HH:MM |
GMS_Siclimat_HZO_1 | Nutzungsbeginn_HHMM | Nutzungsbeginn_HHMM_Shadow | Usage Start Time HHMM | HH:MM |
GMS_Siclimat_HZO_1 | Aufheizbeginn_HHMM | Aufheizbeginn_HHMM_Shadow | Heating-up Start HHMM | HH:MM |
GMS_Siclimat_HZO_1 | StzbetrBeginn_HHMM | StzbetrBeginn_HHMM_Shadow | Sustained Mode Start HHMM | HH:MM |
GMS_Siclimat_HZO_1 | Naechst_Schaltp_Tag | Naechst_Schaltp_Tag_Shadow | Next Switching Point Day | Decimal |
GMS_Siclimat_HZO_1 | Naechst_Schaltp_Monat | Naechst_Schaltp_Monat_Shadow | Next Switching Point Month | Decimal |
GMS_Siclimat_LZO_1 | TA1_Abkuehlzeit1 | TA1_Abkuehlzeit1_Shadow | TOa1 Cool-down Time 1 | HH:MM |
GMS_Siclimat_LZO_1 | TA1_Abkuehlzeit2 | TA1_Abkuehlzeit2_Shadow | TOa1 Cool-down Time 2 | HH:MM |
GMS_Siclimat_LZO_1 | TA1_Aufheizzeit1 | TA1_Aufheizzeit1_Shadow | TOa1 Heating-up Time 1 | HH:MM |
GMS_Siclimat_LZO_1 | TA1_Aufheizzeit2 | TA1_Aufheizzeit2_Shadow | TOa1 Heating-up Time 2 | HH:MM |
GMS_Siclimat_LZO_1 | TA2_Aufheizzeit1 | TA2_Aufheizzeit1_Shadow | TOa2 Heating-up Time 1 | HH:MM |
GMS_Siclimat_LZO_1 | TA2_Aufheizzeit2 | TA2_Aufheizzeit2_Shadow | TOa2 Heating-up Time 2 | HH:MM |
GMS_Siclimat_LZO_1 | TA3_Aufheizzeit1 | TA3_Aufheizzeit1_Shadow | TOa3 Heating-up Time 1 | HH:MM |
GMS_Siclimat_LZO_1 | TA3_Aufheizzeit2 | TA3_Aufheizzeit2_Shadow | TOa3 Heating-up Time 2 | HH:MM |
GMS_Siclimat_LZO_1 | Aufheizbeginn_HHMM | Aufheizbeginn_HHMM_Shadow | Heating-up Start HHMM | HH:MM |
GMS_Siclimat_LZO_1 | Stuetzbeg_LHZO_HHMM | Stuetzbeg_LHZO_HHMM_Shadow | Sustained Mode AHU-Heating HHMM | HH:MM |
GMS_Siclimat_LZO_1 | Abkuehlbeginn_HHMM | Abkuehlbeginn_HHMM_Shadow | Start Cooling HHMM | HH:MM |
GMS_Siclimat_LZO_1 | Stuetzbeg_LKZO_HHMM | Stuetzbeg_LKZO_HHMM_Shadow | Sustained Mode AHU-Cooling HHMM | HH:MM |
GMS_Siclimat_LZO_1 | Naechst_Schaltp_HHMM | Naechst_Schaltp_HHMM_Shadow | Next Switching Point HHMM | HH:MM |
GMS_Siclimat_LZO_1 | Naechst_Schaltp_Tag | Naechst_Schaltp_Tag_Shadow | Next Switching Point Day | Decimal |
GMS_Siclimat_LZO_1 | Naechst_Schaltp_Monat | Naechst_Schaltp_Monat_Shadow | Next Switching Point Month | Decimal |
GMS_Siclimat_3P_SB01_1 | Iststufe | IststufeEnum | Present Command 2 | GmsEnum |
NOTE1: Die Schatteneigenschaften der SICLIMAT X-Objektmodelle werden anstelle der ursprünglichen Eigenschaften im Bereich Erweiterte Bedienung angezeigt. Wenn in Grafiken auf die ursprünglichen Eigenschaften verwiesen wird, müssen Sie die ursprünglichen Eigenschaften manuell durch die Schatteneigenschaften ersetzen.
NOTE2: Die Eigenschaft Iststufe entspricht dem Typ GmsBitString, der in der Trendansicht nicht richtig dargestellt werden kann. Die Schatteneigenschaft IststufeEnum wurde eingeführt, welche automatisch mit dem entsprechenden Wert aktualisiert wird, wenn sich der Wert in Iststufe ändert.
Textgruppen
Die SICLIMAT X-Textgruppen sind Teil der SICLIMAT X-Bibliothek, wobei: Insbesondere:
- Textgruppen mit Nummern von TxG_SICX_0001 bis TxG_SICX_4999 zur Headquarter-SICLIMAT X-Bibliothek gehören.

- Wenn die zu importierende Konfigurationsdatei Textgruppen enthält, die nicht in der Headquarter-SICLIMAT X-Bibliothek vorhanden sind, sind diese nach dem Import unter Systemeinstellungen > Bibliotheken > L4-Projekt > Gemeinsam > Gemeinsam > Texte verfügbar.

Importregeln
Importregeln sind ein Bibliothekselement, mit dem Regeln für den Import von Objekten in das System gesammelt werden. Sie können diese Regeln für den Import von Objektdefinitionen einer gegebenen SICLIMAT X-Familie und den zugehörigen Systemtypfunktionen konfigurieren. Sie haben folgende Möglichkeiten:
- Die Objekte und Eigenschaften für die Importregeln angeben
- Instanzattribute abbilden
- Die Alarmkonfiguration festlegen
Objekte und Eigenschaften
Sobald eine CSV-Datei extrahiert wurde, können Sie im Expander Objekte und Eigenschaften die Importregeln für Objekte und Eigenschaften angeben.

Element | Beschreibung |
PIM | Objekttyp-ID in SICLIMAT X |
Box-ID | Datentyp-ID in SICLIMAT X |
Typenname | SICLIMAT X-Objektname für die Hierarchienabbildung, die beim Import aus Box-ID und PIM in der XML-Importdatei generiert wird. |
Objektmodell | Sie können für jeden SICLIMAT X-Typen ein Objektmodell wählen. |
Objekt kopieren | Erstellen Sie eine Kopie des gewählten Objekts. |
Objekt entfernen | Entfernen Sie das gewählte Objekt aus der Liste. |
Instanz-Attribut-Abbildung
Sobald eine CSV-Datei extrahiert wurde, können Sie im Expander Instanz-Attribut-Abbildung die Instanzattribute abbilden.

Instanzattribute
Die Tabelle Instanzattribute enthält die Konfigurationsdaten für die Instanz-Attribut-Abbildung, die aus einer CSV-Datei importiert wurden.
Für jedes Instanzattribut können folgende Informationen angegeben werden:
- Wert des Funktionsschlüssels
- Funktionsname
- Disziplin, Subdisziplin, Typ und Subtyp
Neben der Möglichkeit der Bearbeitung bestehender Instanzattribute haben Sie auch die Möglichkeit, neue Instanzen zu erstellen oder bestehende Instanzen zu entfernen.
Alarmkonfiguration
Sobald eine CSV-Datei extrahiert ist, können Sie im Expander Alarmkonfiguration die Abbildung von SICLIMAT X-Ereignisklassen und den Alarmklassen der Managementplattform angeben.

| Beschreibung |
SICLIMAT-Ereignisklasse | Integer, der in der Import-XML-Datei zum SICLIMAT X-Ereignis gehört. Die Abbildung von der SICLIMAT-Ereignisklasse auf die Alarmklasse der Managementplattform gehört zur SICLIMAT X-Bibliothek. IDs der SICLIMAT-Ereignisklasse
|
Alarmklasse | Alarmklasse der Managementplattform, die der gewählten SICLIMAT-Ereignisklasse entspricht. |
Aktivitäts-Log aktivieren | Wenn dieses Kästchen markiert ist und die SICLIMAT-Ereignisklasse in der zu importierenden Datei auf aktiv gesetzt ist, wird das Aktivitäts-Log (AL) in der Managementplattform für diese Alarmklasse aktiviert. |
Zu Alarm | Nennt den Alarmtext für eingehende Alarme, der für die Alarmklasse importiert wird. Kann für die in der Tabelle gewählte SICLIMAT-Ereignisklasse bearbeitet werden. |
Zu Normal: | Nennt den Alarmtext für abgehende Alarme, der für die Alarmklasse importiert wird. Kann für die in der Tabelle gewählte SICLIMAT-Ereignisklasse bearbeitet werden. |
